用途及適用范圍
FLN□-12D/T630-20、FLRN□-12D/T100-31.5型戶內交流高壓六氟化硫負荷開關/組合電器(以下簡稱負荷開關/組合電器)滿足GB3804《3~63kV交流高壓負荷開關》、《GB16926交流高壓負荷開關-熔斷器組合電器》及IEC265、IEC420的標準和規范。
負荷開關是用SF6氣體和金屬去離子柵熄滅電弧的戶內交流高壓六氟化硫負荷開關。負荷開關/組合電器適用于電網建設和改造的中壓/低壓二次變電、配電系統,作為三相交流50Hz、12kV電力系統的環網供電和終端供電單元。廣泛應用于變電站、開閉所、工礦企業、高層建筑、住宅小區、箱式變電站等場所。用來開斷、關合負載電流及空載長線和空載變壓器,控制、保護變壓器或高壓電動機。加裝智能單元后可實現遙控,滿足配電自動化的要求。
負荷開關與高壓限流熔斷器串聯就構成了組合電器,可以代替斷路器使用。即由負荷開關承擔關合和開斷各種負荷電流,而由熔斷器承擔開斷過載電流和短路電流,且接地工位為熔斷器兩端同時接地 。組合電器結構簡單、價格便宜,開斷性能最適合保護變壓器。另外組合電器用了觸發聯動機構可擴大過載保護范圍。
主要技術參數
序號 | 名稱 | 單位 | 參數 |
1 | 額定電壓 | kV | 12 |
2 | 額定電流 | A | 630 |
3 | 額定頻率 | Hz | 50 |
4 | 額定1min工頻耐受電壓(相同、對地/斷口) | kV | 42/48 |
5 | 額定雷電沖擊耐受電壓(相同、對地/接口) | 75/85 | |
6 | 額定短時耐受電流(3S) | kA | 20 |
7 | 額定峰值耐受電流 | 50 | |
8 | 額定有功負載開斷流 | A | 630 |
9 | 額定閉環開斷電流 | 630 | |
10 | 額定電纜充電開斷電流 | 10 | |
11 | 組合電器額定短路開斷電流(預期值) | kA | 31.5 |
12 | 組合電器額定短路關合電流(預期峰值) | 80 | |
13 | 組合電器額定轉移電流 | A | 1500 |
14 | 機械壽命 | 次 | 2000 |
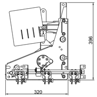
負荷開關外形尺寸



組合電器外形尺寸

